0 引言中国科学院苏州生物医学工程技术研所(以下简称医工所)位于苏州高新区太湖之滨的苏州科技城,生物医学工程是国家重点发展的支柱性产业,为响应国务院制定的一系列促进节能减排的政策措施,更好的对配电系统...
分类:自动控制 时间:2011-12-22 阅读:1920
0 概述 上海华山医院病房楼是一幢医用建筑,建筑面积约为2万平方米。根据配电系统管理和能耗监测的要求,需要对楼内的高压进线、低压配出线和各楼层内配电箱进行电力监控,以保证用电的安全、高效。Acrel-3000型低...
分类:自动控制 时间:2011-12-22 阅读:2427
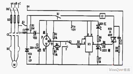
光控自动淋浴节水器能够保证当淋浴者站在喷头下时,喷头出水;而喷头下无淋浴者时,喷头不喷水,从而达到显著节水的目的。 光控自动淋浴节水器电路如图所示。当有光照...
分类:自动控制 时间:2011-11-30 阅读:5959
电话线路上的直流电压目前通常约为45到50V,挂机和摘机为6V。该电路采用降压激活继电器。继电器控制磁带录音机。音频是通过网络到磁带麦克风输入。 来源:panyueyingying
分类:自动控制 时间:2011-07-10 阅读:9902
电饭煲自动控制器电路 如图为电饭煲自动控制器电路。该电路包括降压稳压电路,555组成的R-S触发器以及继电器控制电路等。 555和R5,R6,W1,Rt,W2,BG2等组成一个...
分类:自动控制 时间:2011-10-13 阅读:4081
无塔增压供水自动控制电路图 如图为无塔增压供水自动控制电路图。一般情况下,无塔增压供水装置的自控回路中采用的电接点压力表,常发生触头烧毛或烧结现象,使用本控...
分类:自动控制 时间:2011-10-10 阅读:14426
电饭煲功率自动调节器电路 如图为电饭煲功率自动调节器电路。该电路包括降压整流电路(Vdd=13V),振荡控制电路和移相触发可控硅电路。将开关K置于“强”火位置时,BG...
分类:自动控制 时间:2011-10-09 阅读:3531
555组成马达自动调速器电路 如图为555组成马达自动调速器电路。该电路由555组成的触发器和一个开关管构成。R7和马达串接,构成取样电路。RP1用于调节555的控制触发电...
分类:自动控制 时间:2011-08-31 阅读:5499
全自动窗帘机,采用WL-5561A集成块作为电路控制部件。使电路简单,功能齐全,功耗极低。 全自动微功耗时控窗帘电路 调试:光断开电机电源,接通控制部分的直流电源...
分类:自动控制 时间:2011-08-24 阅读:4406
自动切换色光双向流动彩灯电路 如图为自动切换色光双向流动彩灯电路。该电路接通电源后,IC的输出端L1~L6依次循环输出低电平。SCR1~SCR3依次循环导通,三路灯依次循环...
分类:自动控制 时间:2011-08-19 阅读:2382
车距语言提示器电路 如图为车距语言提示器电路图。在该电路中,LM567及其5,6脚所接的R4,C4构成40kHZ振荡器,产生的振荡信号由V1放大,推动超声波发射器件B1辐射出超...
分类:自动控制 时间:2011-08-15 阅读:2729
智能的马达自动调速器电路 如图为智能的马达自动调速器电路图。该电路由555构成的触发器和一个开关管组成。R7和马达串联,构成取样电路。在马达规定的转速内运转时,5...
分类:自动控制 时间:2011-07-13 阅读:4940

























